www.interstage.dk

  Inovonics 711 dynamisk RDS encoder
       

 

 

Inovonics logo

   

Inovonics er en af USA's mest anerkendte producenter af specielt broadcast tilbehør, og blev i Europa for alvor kendt for deres broadcast processorer, som i mange år udgjorde favoritten for de kommercielle radioer. De fremstiller også en række andre specielle broadcast tilbehør produkter af meget høj kvalitet.

       
         
        Beskrivelse
 

Inovonics 711 front

Inovonics 711 bagside

Inovonics 711
Klik for illustrationer i høj opløsning

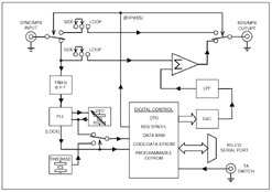
711 blokdiagram

711 blokdiagram
 Klik for illustrationer i høj opløsning

711 tilslutning
711 tilslutning

711 tilslutning
 Klik for illustrationer i høj opløsning
   

711 er en RDS encoder, der ikke blot giver mulighed for at embedde de normalt anvendte data, men giver adgang til hele spekteret af RDS data, herunder dynamiske data. Man får således mulighed for en meget mere levende udnyttelse af RDS systemet til data som kunstnere, titler, konkurrence telefonnumre og meget mere. Disse dynamiske data kan opdateres løbende via en standard RS-232 port, således at stationens afviklings system (Dalet eller andet) automatisk kan overføre dem ubemandet.
Tilslutning af encoderen kan ske enten i "Sidechain" eller "Loop-Through" mode alt efter forhold og udstyr.
RDS data. Enheden understøtter alle RDS data som defineret af den europæiske Cenelec standard for RDS kodning:
* PI (Program Identification). Stationens identifikation
* PS (Program Service Name). Stationens normalt anvendte navn, max. 8 karakterer.
* PTY (Program Type). Programformat iht. predefinerede typer.
* TP (Traffic Program Identification). Et data flag, der indikerer, at stationen jævnligt udsender trafik informationer.
* TA (Travel Announcement). Et data flag, der kun udsendes, når trafik meldinger udsendes. Denne melding kan styres enten via seriel kommando eller som almindelig parallel remote via BNC stik på bagpanelet for simpel styring via pultens fader switch eller lignende.
* AF (Alternative Frequencies). Indeholder frekvenser for andre sendere i samme netværk, så f.eks. bilister nemmest finder den næste sender ved gennemkørsel
* DI (Decocer Information). Indikerer formatet på udsendelsen (mono samt diverse stereo formater).
* M/S (Music/Speech Switch). Indikerer om programmaterialet er musik/blandet eller ren tale.
* RT (Radio Text). En 64 karakterers blok af ren tekst til rulledisplay på RDS modtagerens front. Bruges f.eks. til kunstner, sangtitel, promos, konkurrence eller reklame-telefon numre.
* FFG (Free Format Groups). Beregnet for udsendelse af skjulte data til f.eks. lukkede grupper.
Ind- og udgange. MPX/Sync indgang og RDS/MPX udgang samt TA flag relæ er alle via standard BNC stik. RS-232 er via standard 9-pin D-sub.
Mekanisk. 711 leveres som 19" 1U enhed.
Strøm. Enheden har indbygget strømforsyning og tilsluttes via standard IEC netkabel.

         
        Tilbehør
 

 

   

Enhederne leveres med
* Brugermanual
* Remote Windows software

         
        Varenumre
 

 

   

345.130 Inovonics 711 dynamisk RDS encoder

         
        Tekniske data
 

 

 

   
 

Generelt

Strøm 210-255V, 50Hz, IEC netstik
Strøm forbrug 15W
Vægt 3,5kg
Dimensioner 480x44x178mm (19" 1U)
   
  RDS
Encoder niveau -60dBu til 0dBu i 1dB trin
Encoder fase ±180° i 6° trin
   
  Tilslutninger
MPX ind/ud Max +18dBu
TTL sync 19kHz, max. 5V p-p
   
  Tilslutninger, remote og alarm
TA flag BNC
RS-232 9-pin D-subF, 1200-9600 baud

De anførte tekniske data bygger på oplysninger fra producenten. Der tages forbehold for fejl og ændringer uden varsel.

Klik på de blå link for at se yderligere detaljer.

         
 

 

 

 

Klik for illustrationer i høj opløsningKlik for at downloade brochure i PDF formatKlik for at downloade manual i PDF formatKlik for priser

 

 

Interstage - pro audio with a smile

Link til Interstage hovedmenu